墓石、灯篭、付属品|(有)俣本石材店[富山県富山市]


ホーム    墓石のご案内    お墓の掃除    お墓の修理    石の置物・記念碑    墓地のご案内    会社案内





俣本石材店でご紹介している墓石・灯篭・付属品です。

和型・洋型・和洋型・富山霊園型・新長岡型などお客様の幅広いご要望にお応え致しております。

また、当社展示場にて国産・中国産・インド産など様々な石種で、和型・洋型・和洋型・灯篭・物置台・墓誌と豊富に
展示されております。実物大のお墓でデザインや使い勝手など、実際にご覧になって頂ければと思います。

お気軽にご相談下さい。




和型墓石 洋型墓石 和洋型墓石
【価格】 82万円〜 【価格】 87万円〜 【価格】 92万円〜


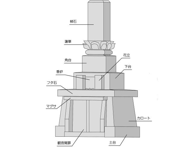
灯篭 香炉・花立 物置台 墓誌
【価格】 10万円〜 【価格】 6万円〜 【価格】 3万円〜 【価格】 8万円〜














納骨堂はお墓の中心。外見の意匠だけでなくその内側である納骨堂にまで気を配ることが、連綿たる家系を尊ぶ心にもつながります。

俣本石材店ではご希望により普段は見えないお墓の内側まで心を込め、堂内の全ての石面を磨き上げます。その荘厳さが漂う美しく清潔な空間にご遺骨が安置されます。

また、堂の床は「自然に土に帰す」という考え方によって中央部分に直接土を出しています。これが同時に、結露などで水分が出やすい堂内の排水性も高めています。




俣本石材店では、ひとつの石をくり抜く工法(一体胴抜構造工法)により石と石との継ぎ目がなく、したがって水の浸透もなく、墓石自体の強度もたいへん強くなっております。












ページのトップへ








ページのトップへ








ページのトップへ






ページのトップへ






ページのトップへ






ページのトップへ






ページのトップへ




| ホーム | 墓石のご案内 | お墓の掃除 | お墓の修理 | 石の置物・記念碑・鳥居・石塀 | 墓地のご案内 | リンク | 会社案内 |